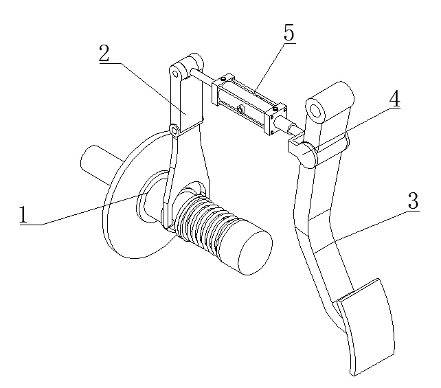
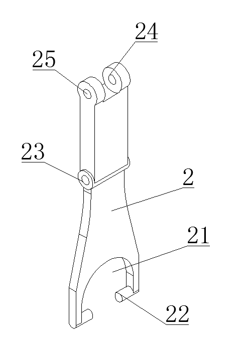
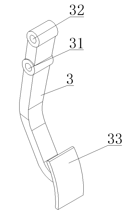
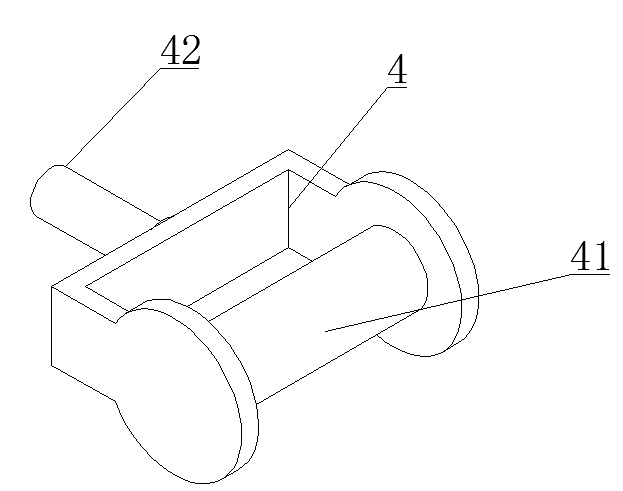
一种挡板式半自动离合装置(ID:2628328)
| # | 文件名称 | 文件大小 |
|---|---|---|
| 1 | 17579062457256.rar | 163.47K |
| 2 | 一种挡板式半自动离合装置.dwg | 228.92K |
| 3 | 图片1.png | 12.20K |
| 4 | 图片2.png | 10.39K |
| 5 | 图片3.png | 9.55K |
| 6 | 图片4.png | 9.24K |
| 7 | 图片5.png | 7.94K |
此图纸下载需要8金币
立即下载
发布者
清秀的绿茶
创作: 1443
粉丝: 8
加入时间:2023-08-28
模型信息
图纸格式:dwg
文件大小:167.39KB
所需金币:8
上传时间:2025-09-15 11:17:25
是否可编辑:可修改,包括参数
版本:AutoCAD 2010
标签
图纸简介
版权说明
用户在本站上传的作品如侵犯到您的权益,请与本站管理员联系删除。用户在本站下载的原创作品,只拥有作品的使用权,著作权归原作者所有,未经合法授权,用户不得以任何形式发布、传播、复制、转售该作品。
作者其它图纸 查看更多
猜你喜欢

0.png)




