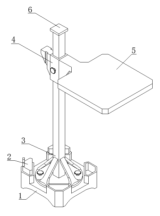
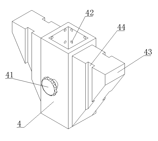
一种可伸缩物理实验用升降架(ID:2631146)
| # | 文件名称 | 文件大小 |
|---|---|---|
| 1 | 17579254022994.rar | 331.69K |
| 2 | 一种可伸缩物理实验用升降架.doc | 130.53K |
| 3 | 一种可伸缩物理实验用升降架.dwg | 352.51K |
| 4 | 图片1.png | 10.72K |
| 5 | 图片2.png | 9.22K |
| 6 | 图片3.png | 4.84K |
| 7 | 图片4.png | 7.63K |
| 8 | 图片5.png | 5.07K |
| 9 | 图片6.png | 9.85K |
此图纸下载需要8金币
立即下载
发布者
清秀的绿茶
创作: 1443
粉丝: 8
加入时间:2023-08-28
模型信息
图纸格式:dwg
文件大小:339.65KB
所需金币:8
上传时间:2025-09-15 16:36:49
是否可编辑:可修改,包括参数
版本:AutoCAD 2010
标签
图纸简介
版权说明
用户在本站上传的作品如侵犯到您的权益,请与本站管理员联系删除。用户在本站下载的原创作品,只拥有作品的使用权,著作权归原作者所有,未经合法授权,用户不得以任何形式发布、传播、复制、转售该作品。

0.png)





