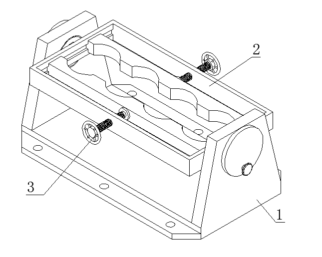
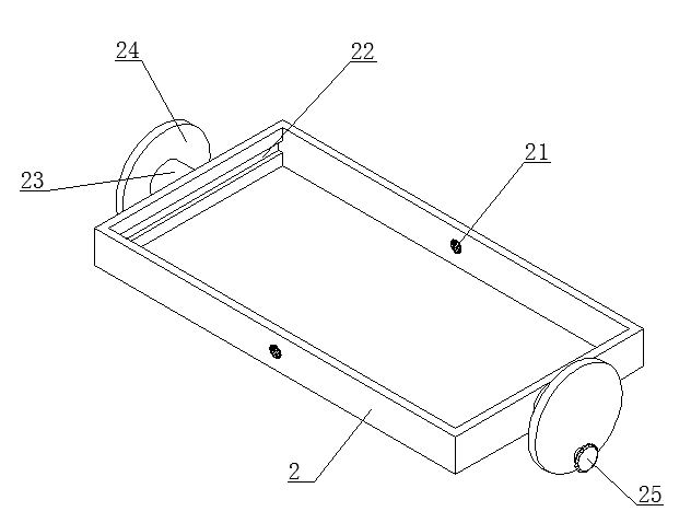
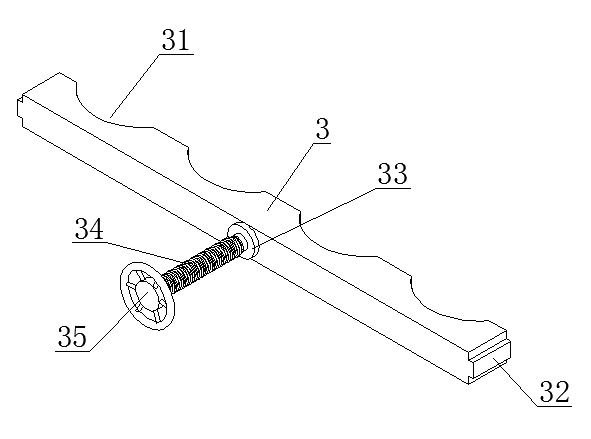
一种轴承加工用夹持设备(ID:2638000)
截图
AI截图渲染
✨AI图片渲染
| # | 文件名称 | 文件大小 |
|---|---|---|
| 1 | 17580992768345.rar | 261.18K |
| 2 | 一种轴承加工用夹持设备.dwg | 354.98K |
| 3 | 图片1.png | 15.18K |
| 4 | 图片2.png | 9.05K |
| 5 | 图片3.png | 9.73K |
| 6 | 图片4.png | 9.66K |
此图纸下载需要8金币
立即下载
发布者
清秀的绿茶
创作: 1443
粉丝: 10
加入时间:2023-08-28
模型信息
图纸ID:2638000
图纸格式:dwg
文件大小:267.45KB
所需金币:8
上传时间:2025-09-17 16:54:36
是否可编辑:可修改,包括参数
软件版本:AutoCAD 2010
标签
图纸简介
版权说明
用户在本站上传的作品如侵犯到您的权益,请与本站管理员联系删除。用户在本站下载的原创作品,只拥有作品的使用权,著作权归原作者所有,未经合法授权,用户不得以任何形式发布、传播、复制、转售该作品。
AI渲染-将平面图渲染为真实效果图
原图
渲染图
正在渲染中,请稍候...

0.png)



