医院手杖(ID:324959)
查找相似图纸
截图
AI截图渲染
✨AI图片渲染
| # | 文件名称 | 文件大小 |
|---|---|---|
| 1 | 内鞋盒.SLDPRT | 144.55K |
| 2 | 外鞋盒.sldprt | 131.43K |
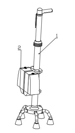
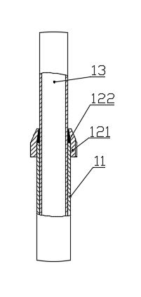
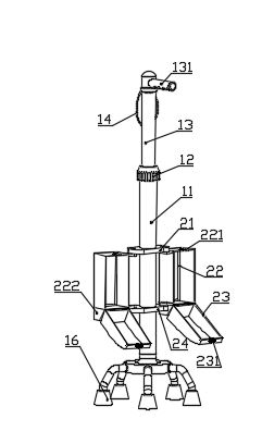
| 3 | 手杖上杆.SLDPRT | 137.68K |
| 4 | 手杖下杆.SLDPRT | 73.26K |
| 5 | 手杖总装.DWG | 365.79K |
| 6 | 手杖总装.SLDASM | 710.71K |
| 7 | 手杖总装.SLDDRW | 135.99K |
| 8 | 手杖总装1.bak | 427.87K |
| 9 | 手杖总装1.DWG | 441.23K |
| 10 | 手杖总装1.SLDDRW | 460.71K |
| 11 | 手杖总装2.DWG | 365.79K |
| 12 | 手杖总装3.DWG | 662.60K |
| 13 | 手环.SLDPRT | 181.88K |
| 14 | 斜面支架.SLDPRT | 63.35K |
| 15 | 方舱通道专利用修改版.dwg | 368.03K |
| 16 | 橡胶圈.SLDPRT | 81.48K |
| 17 | 橡胶圈螺栓.SLDPRT | 553.76K |
| 18 | 盖帽.SLDPRT | 107.62K |
| 19 | 绳子.SLDPRT | 176.19K |
| 20 | 脚套.SLDPRT | 84.93K |
| 21 | 脚座.SLDPRT | 296.33K |
| 22 | 镜向内鞋盒.SLDPRT | 79.20K |
| 23 | 鞋盒支架.SLDPRT | 89.08K |
| 24 | 20220621-方舱的侧边折叠式通道及其方舱-S1 - 副本.doc | 16.76M |
| 25 | 20220621-方舱的侧边折叠式通道及其方舱-S1.doc | 16.76M |
| 26 | 一种伸缩鞋杖.doc | 131.50K |
| 27 | 图一.JPG | 19.03K |
| 28 | 图三.JPG | 15.43K |
| 29 | 图二.JPG | 20.41K |
免费下载
发布者
开源贡献者
创作: 8
粉丝: 3
加入时间:2022-09-03
模型信息
图纸ID:324959
图纸格式:sldprt,sldasm
文件大小:6.48M
所需金币:0
上传时间:2022-09-05 20:31:06
是否可编辑:可修改,包括参数
软件版本:SOLIDWORKS 2017
标签
图纸简介
版权说明
用户在本站上传的作品如侵犯到您的权益,请与本站管理员联系删除。用户在本站下载的原创作品,只拥有作品的使用权,著作权归原作者所有,未经合法授权,用户不得以任何形式发布、传播、复制、转售该作品。
AI渲染-将平面图渲染为真实效果图
原图
渲染图
正在渲染中,请稍候...

0.png)
1.png)
2.png)
3.png)
4.png)